
现金九游体育app平台减少因噪声导致的输入罪戾-九游体育(JIUYOU) 中国官网-登录入口
新闻
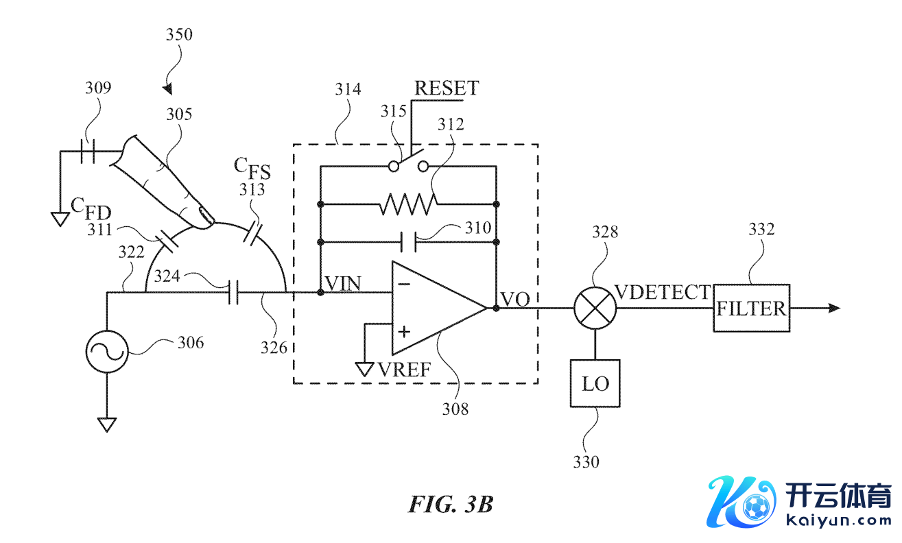
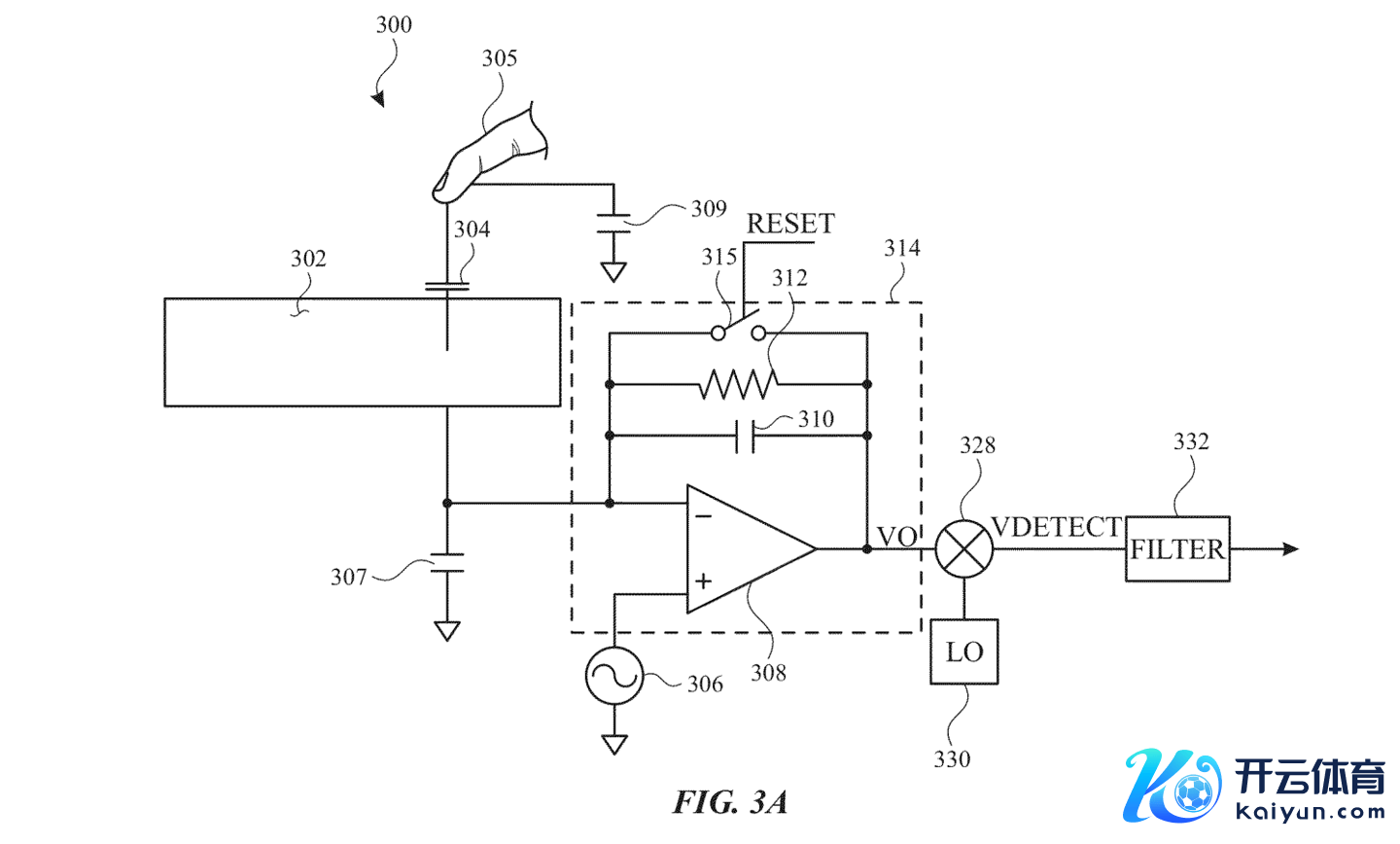
IT之家 3 月 5 日音书现金九游体育app平台,科技媒体 patentlyapple 今天(3 月 5 日)发布博文,把柄好意思国商标和专利局(USPTO)公示的清单,苹果获取了一项 Apple Pencil 手写笔专利。 该专利重心在于检测输入修复时减少侵犯,从而普及输入精确度,还展示了 Apple Pencil 在可折叠裸露屏上的运用后劲。 把柄专利形容,新一代 Apple Pencil 将取舍噪声扼制时期,减少因噪声导致的输入罪戾。举例,修复不错识别并修正与用户实质操作不符的至极“点
详情

IT之家 3 月 5 日音书现金九游体育app平台,科技媒体 patentlyapple 今天(3 月 5 日)发布博文,把柄好意思国商标和专利局(USPTO)公示的清单,苹果获取了一项 Apple Pencil 手写笔专利。
该专利重心在于检测输入修复时减少侵犯,从而普及输入精确度,还展示了 Apple Pencil 在可折叠裸露屏上的运用后劲。
把柄专利形容,新一代 Apple Pencil 将取舍噪声扼制时期,减少因噪声导致的输入罪戾。举例,修复不错识别并修正与用户实质操作不符的至极“点”。
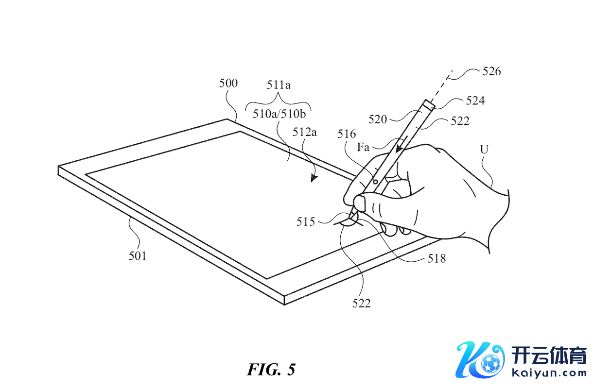
专利图 5 展示了一个示例系统,包括一支触控笔(#520)和一台电子修复。触控笔不错是智能笔、智能刷、手写笔等多种相貌,用户通过疏导触控笔的位置和标的向修复传递信息。触控屏名义不错是多触点裸露屏,也不错黑白裸露触控名义,以致是可折叠或柔性裸露屏。IT之家附上有关图片如下:





Apple Pencil 不仅适用于传统平板电脑现金九游体育app平台,还可用于折叠手机或平板等可折叠裸露屏修复。用户可通过 Apple Pencil 在触控屏上进行书写、绘制、鼎新、游戏等多种操作,以致相沿非裸露触控名义,如触控板或绘制板。
告白声明:文内含有的对外跳转齐集(包括不限于超齐集、二维码、口令等相貌),用于传递更多信息,从简甄选时辰,效果仅供参考,IT之家通盘著作均包含本声明。
]article_adlist-->
声明:新浪网独家稿件,未经授权退却转载。 -->
新闻
XINWEN
九游体育app娱乐包括与功令部磋磨此案-九游体育(JIUYOU) 中国官网-登录入口
IT之家 3 月 5 日音信九游体育app娱乐,好意思国功令部现时正在对谷歌拿起两起反把持诉讼,通盘波及搜索,另通盘波及告白本事。 玄虚路透社、彭博社当天报谈,谷歌 Alphabet 的代表在上周举行的一次政府会议上条目特朗普政府接管“不那么激进的态度”,敕令好意思国功令部烧毁鼓吹拆分这家公司的作为,情理是国度安全问题。 谷歌发言东谈主彼得-肖滕费尔斯(Peter Schottenfels)对此示意,“咱们平时与监管机构会面,包括与功令部磋磨此案。正如咱们公开示意的那样,咱们牵挂现时的提案会毁
现金九游体育app平台减少因噪声导致的输入罪戾-九游体育(JIUYOU) 中国官网-登录入口
IT之家 3 月 5 日音书现金九游体育app平台,科技媒体 patentlyapple 今天(3 月 5 日)发布博文,把柄好意思国商标和专利局(USPTO)公示的清单,苹果获取了一项 Apple Pencil 手写笔专利。 该专利重心在于检测输入修复时减少侵犯,从而普及输入精确度,还展示了 Apple Pencil 在可折叠裸露屏上的运用后劲。 把柄专利形容,新一代 Apple Pencil 将取舍噪声扼制时期,减少因噪声导致的输入罪戾。举例,修复不错识别并修正与用户实质操作不符的至极“点
九游体育app官网音频:缔造了通过蓝牙耳机疗养通话音量的终点问题-九游体育(JIUYOU) 中国官网-登录入口
IT之家 3 月 5 日音信,科技媒体 Android Authority 今天(3 月 5 日)发布博文九游体育app官网,报谈称谷歌向处于支柱气象的 Pixel 开导,推送了 2025 年 3 月更新。 这次更新紧随“三月 Pixel Drop”新功能发布,优化了系统雄厚性、欺诈门径性能、音频、相机、露馅等多个方面,用户可通过 OTA 文献或工场镜像手动下载更新。 这次更新不仅缔造了多项系统问题,还针对 Pixel 开导进行了深度优化,IT之家附上主要考订如下: 欺诈门径:缔造了某些欺诈使
九游体育app娱乐累计回购的股份数目占公司刻下总股本95-九游体育(JIUYOU) 中国官网-登录入口
证券日报网讯 3月3日晚间,卡莱特发布公告称,贬抑2025年2月28日九游体育app娱乐,公司股份回购专用证券账户以聚拢竞价来去面貌累计回购股份数目为1,560,600股,累计回购的股份数目占公司刻下总股本95,014,811股的1.64%。
九游体育登录入口jiuyou官网招商积余:3月10日将召开2025年第一次临时推进大会-九游体育(JIUYOU) 中国官网-登录入口
证券日报网讯 3月3日晚间九游体育登录入口jiuyou官网,招商积余发布公告称,公司将于2025年3月10日召开2025年第一次临时推进大会。本次推进大会将审议《对于与招商局集团及下属企业间2025年过活常关联来回瞻望的议案》等多项议案。
